9月8日凌晨,苹果召开秋季新品发布会,发布了iPhone14系列配色及售价。据了解,iPhone 14、iPhone 14 Pro及14 Pro Max三款机型起售价与前一代相同。
去年iPhone13发布后,王守义十三香也跟着火了。在王守义专卖店铺里,很多网友问,十三到底香不香。“十四香还是十三香?”
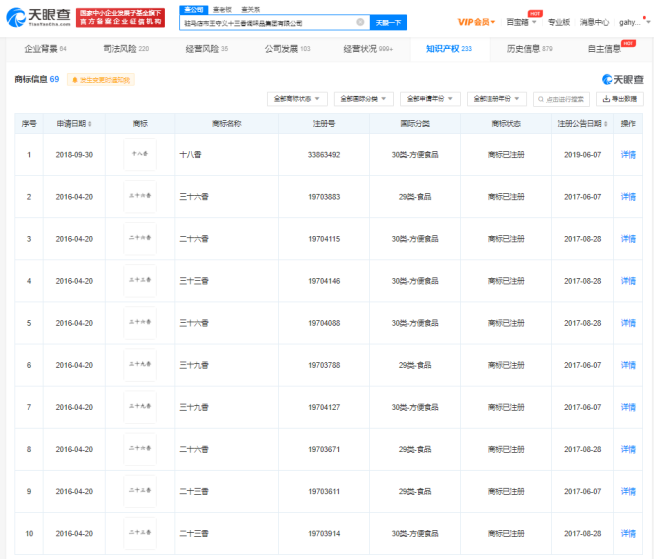
天眼查App显示,“十四香”商标已被驻马店市王守义十三香调味品集团有限公司成功注册,其申请时间为2002年,国际分类为方便食品。截至目前,王守义公司已成功注册“十二香”至“十八香”商标,以及“二十三香”“二十六香”“三十六香”“三十九香”商标,国际分类多为方便食品、食品。王守义注册十四香究竟是怎么一回事,跟随小编一起看看吧。


王守义十三香通过商标布局,不仅为企业长远发展留下空间,还维护了企业品牌形象、提升品牌认知度。另外注册防御商标更好避免了出现一些与其近似的商标,对自己的品牌进行了保护。

事实上,不只是王守义,阿里巴巴、小米、老干妈等不少企业都注册了一大堆防御性商标。
比如阿里巴巴,注册了“阿里妈妈”“阿里叔叔”“阿里爷爷”“阿里奶奶”等,活生生一商标版的“阿里家族”。
小米更有意思,注册了“大米”“红米”“蓝米”“黑米”“紫米”“橙米”“绿米”“黄米”“桔米”等商标,以至于有网友评论道,“雷布斯是想集齐七色米召唤神龙吗?”
老干妈也不甘落后,“老干爹”“老干娘”“老干爸”“干儿子”“干女儿”“老姨妈”……可谓是“七大姑八大姨”都被注册了个遍。
五粮液注册了“六粮液”“七粮液”“八粮液”等商标;京东更是将创始人刘强东的名字拆分,分别进行商标注册保护……