天价知识产权资产收购——赛力斯以25亿元重塑问界品牌之路!

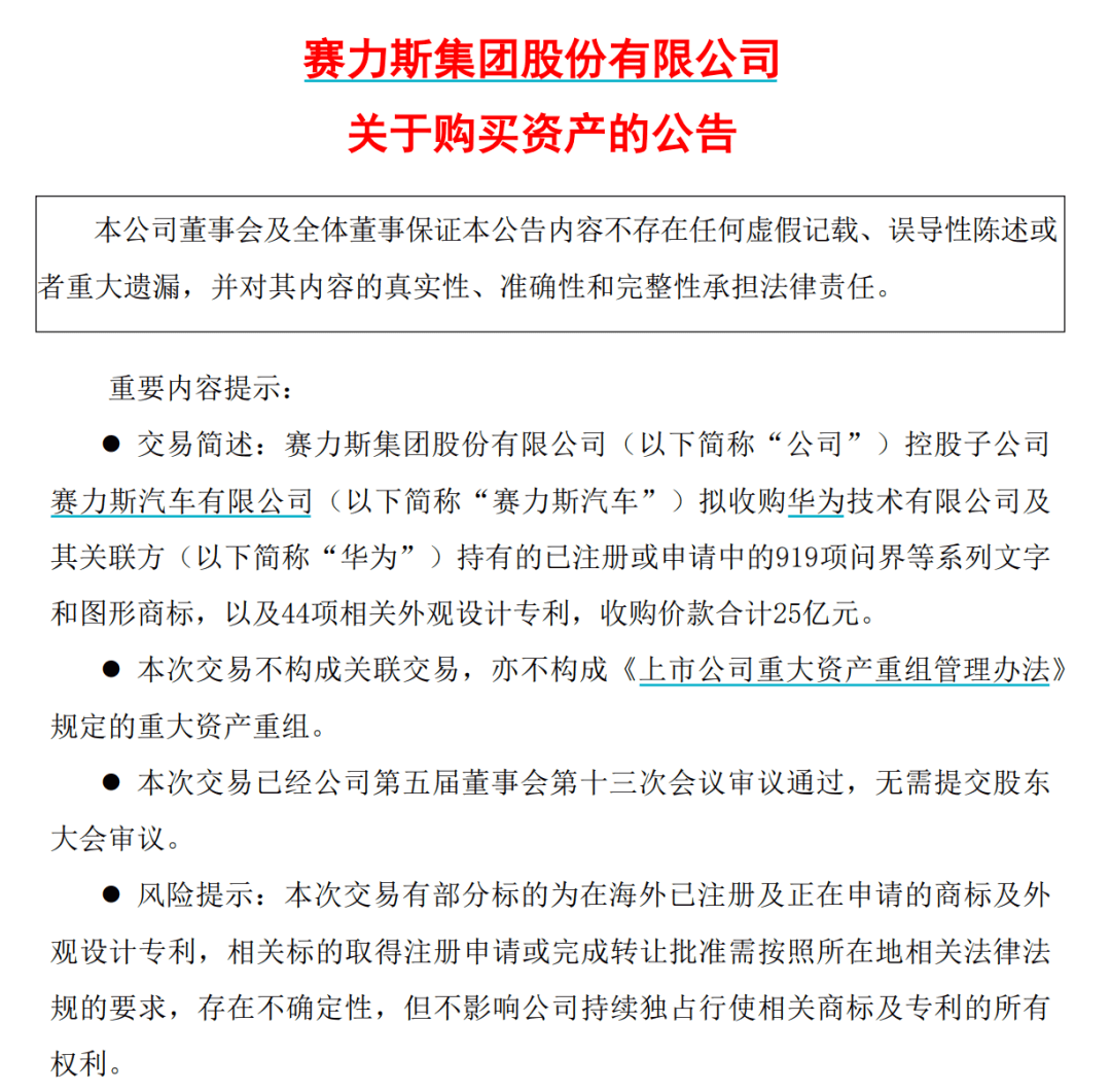
据7月2日晚赛力斯(601127.SH)公告,公司控股子公司赛力斯汽车有限公司(“赛力斯汽车”)拟收购华为技术有限公司及其关联方(“华为”)持有的已注册或申请中的919项问界等系列文字和图形商标,以及44项相关外观设计专利,收购价款合计25亿元(不含税),本次交易价款于2024年12月30日前付清。

划一下重点:赛力斯集团子公司赛力斯汽车,拟收购华为“问界”相关的919件商标+44件相关的外观设计专利。

收购价格高达25亿!

资产评估报告显示,有740项商标权已获授权,剩余商标权正在申请中,尚未获得商标注册证书。而外观专利正在申请中,尚未获得专利证书。

当然,这并不影响赛力斯持续独占行使相关商标及专利的所有权利。

不止中国
赛力斯收购华为持有的919件商标及44件外观专利,不仅包括中国,而是全球所有类别“问界”及相关商标、相关外观设计专利,此项商品和品牌资产转让不影响双方现有的合作业务。

华为回应
对此,华为方面回应,华为将问界等系列商标转让给赛力斯,同时华为将继续支持赛力斯造好问界、卖好问界。

华为一贯坚持不造车,而是利用领先的智能网联汽车技术,持续帮助车企造好车、卖好车,华为将继续与车企为用户打造卓越的智能汽车产品,提供极致的智慧出行体验。

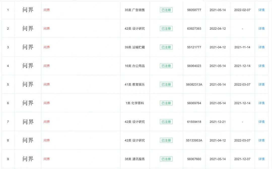
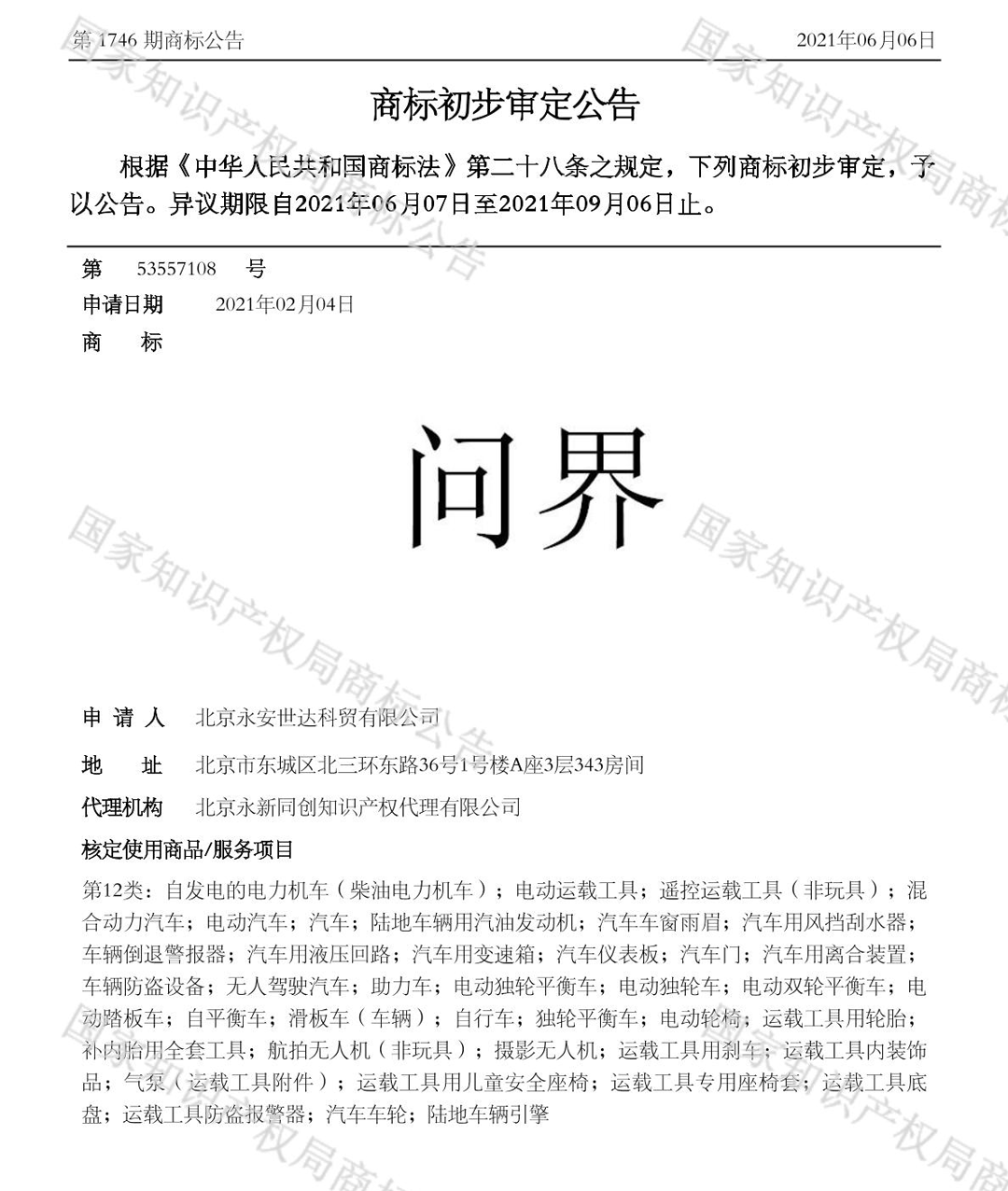
问界商标
12类汽车上的问界商标,最早是2021年2月4日由北京永安世达科贸有限公司申请,2023年6月6日转让给华为。


资料显示,该公司的主要经营范围包括技术转让,且明面上和华为、赛力斯没有关联。

2023年 6 月 ,共计 21 件“问界”商标转让申请被核准,受让人均为华为技术有限公司。商标转让完成,意味着“问界”商标所有权归属于华为。

值得注意的是,在这之前,华为已将“智界”和“享界”商标相继予以转让。

5月底华为将其注册的运输工具类“享界”商标转让给北京新能源汽车股份有限公司,该商标系华为于去年5月申请,11月完成注册。

6月初,华为又将其注册的2枚运输工具类“智界”商标转让给奇瑞,上述商标系华为于2013年10月、2019年9月申请,并分别于2015年4月、2020年4月完成注册。

之前许多人认为,华为进军汽车领域具有非常广阔的发展空间和市场前景,也是对其品牌与技术优势的巩固和拓展。但华为“不造车”的态度却是坚定如一。

这场大型知识产权资产收购似乎给出了答案:华为“不造车”的底气在于,手里的东西从来就不是车,而是一项又一项超规格的技术。

所以大家觉得,赛力斯25亿收购问界商标专利,到底值不值?