相信每个中国人都知道“东风快递”代表着什么,在“东风快递”的保护下,每个中国人都很安全!
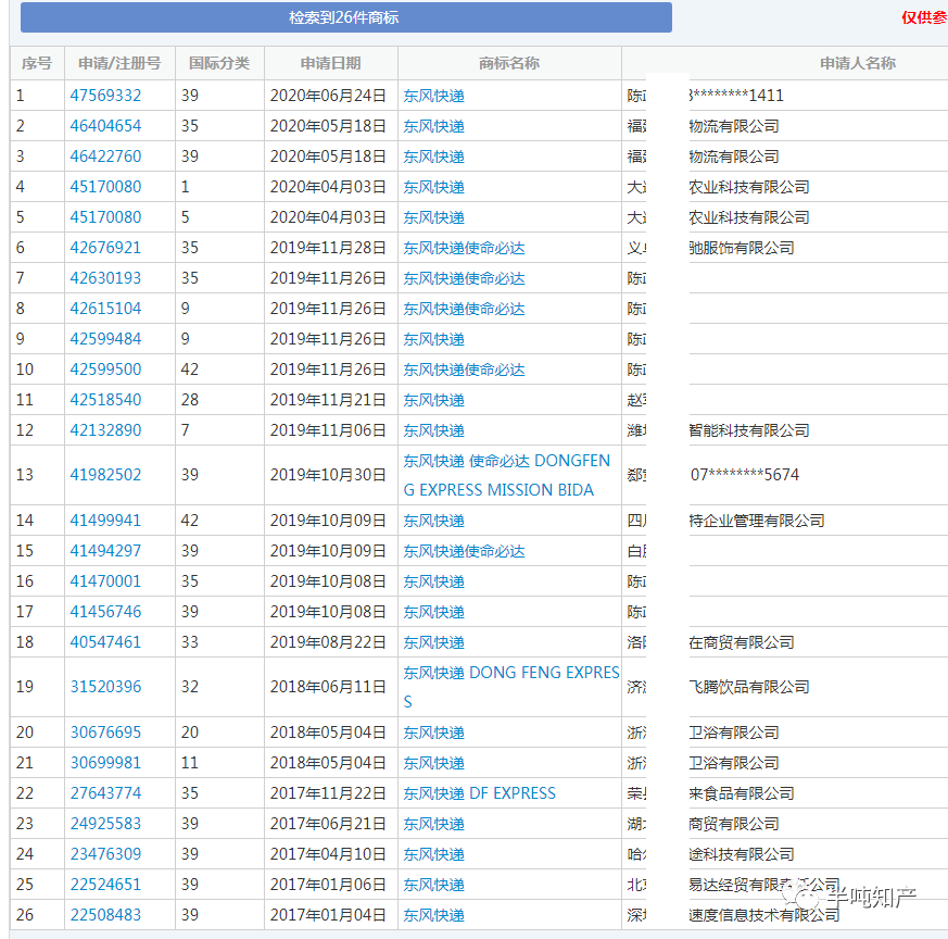
这样的大国重器,居然有人拿着“东风快递”这个名称,申请了商标!

这样的名称,申请肯定要被驳回的,但不知怎的,有漏网之鱼,大连某公司在第1类上申请的工业或农业用煤灰、第5类上申请的医用棉、宠物用生理裤,居然拿到了商标注册证!

那为什么要驳回这样的商标呢,首先,商标审查审理指南中规定,“与我国政治、经济、文化、社会发展关系密切的国家重大工程、重大科技项目等名称相同或者近似,由该申请人注册使用易对我国社会公共利益和公共秩序产生消极、负面影响的”,要适用《商标法》第十条一款(八)项“有害于社会主义道德风尚或者有其他不良影响”予以驳回。

其次,如果消费者看到这样名称的商品,还以为商家有国家背景,从而引起误认。

但并不是所有的申请人都不可以申请,如果类似的商标由国家相关部门授权的适格主体申请,不会对我国社会公共利益和公共秩序产生消极、负面影响的,不适用该禁止规定,但要申请人提供相关的书面证明文件。例如港珠澳大桥管理局申请港珠澳大桥,这是没问题的!

这样的名称,还是要“正主”来申请!(免责声明:该公众号来源的信息均来自其它渠道,目的在于传递更多知识和信息作大家了解和学习,并不代表本公众号的观点及立场和对其真实性负责。若有侵权或异议以及不能在网络传播的请联系我们删除。感谢您的关注和提点!)