近日,薇娅偷税漏税被重罚事件后,李佳琦反而数次登上热搜,网友们纷纷留言:李佳琦挺住!可见一众对李佳琦的认可和期望值!不过一众热搜中有一条是: #李佳琦声音商标再被驳回#

知道李佳琦的人一定都很熟悉那句魔性的口头禅“oh my god!买它买它”,今年3月,李佳琦重新申请将这句口头禅注册成声音商标,不过近日又被驳回了。
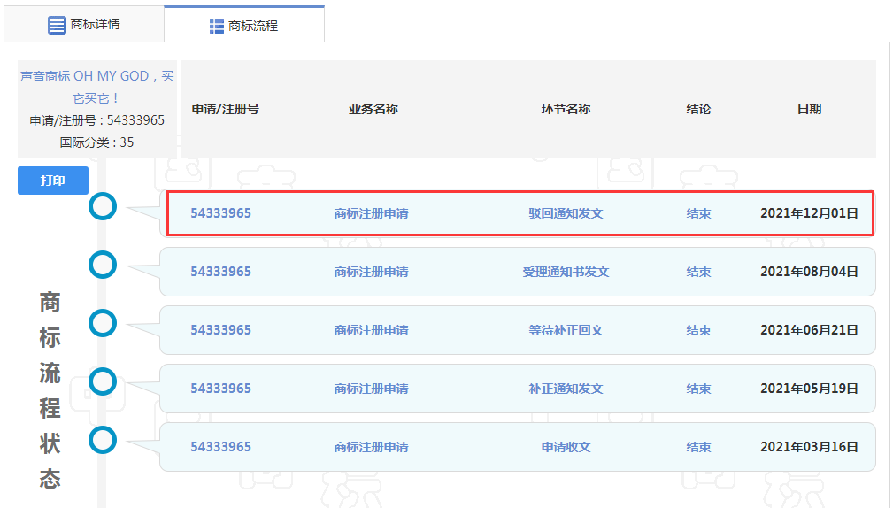
近日,李佳琦所属公司美腕(上海)网络科技有限公司申请注册的“声音商标 OH MY GOD,买它买它!”发生变更,流程状态变更为“驳回通知发文”。

信息显示,其申请于今年3月16日,国际分类为35类广告销售。本件声音商标以节奏较快、音调较高的成年男子人声念出“Oh my god,买它买它!”全长2秒,语速较快,由英文“Oh my god”及中文“买它买它”组成,文字间无明显停顿。

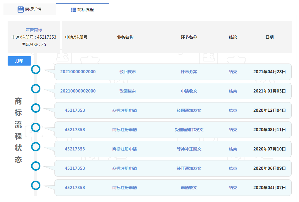
此前,上海妆佳电子商务有限公司曾于2020年4月7日申请注册的“oh my god,买它买它!”声音商标也被驳回,2020年12月4日该商标下发驳回通知。


李佳琦两次申请该声音商标,多次登上热搜,其中两次申请都被驳回了!那么,其直播中经常会说的“Oh my god 买它买它!”到底能不能申请注册为商标呢?
这道题是国知局研究中心出的,答案是:“可以”。
答案解释是——根据商标法第八条:任何能够将自然人、法人或者其他组织的商品与他人的商品区别开的标志,包括文字、图形、字母、数字、三维标志、颜色组合和声音等,以及上述要素的组合,均可以作为商标申请注册。那么,为什么这段口头禅申请声音商标两度被驳回呢?

先看,什么是声音商标。

一般来说声音商标包括三类:可以由音乐性质的声音构成,例如一段乐曲;可以由非音乐性质的声音构成,例如自然界的声音、人或动物的声音;也可以由音乐性质与非音乐性质兼有的声音构成。
举个简单例子,摩托罗拉手机的“hello moto”便是声音商标,当我们听到这个声音时,能够轻易和其它手机品牌区分开。

所以说,声音商标最基本的是要具有显著性才能成功注册!
腾讯当年申请QQ“嘀嘀嘀嘀”提示音被商标局初审驳回,理由正是“嘀嘀嘀嘀”的声音较为简单,缺乏独创性,指定使用在电视播放、信息传送等服务项目上缺乏商标应有的显著特征。
之后费尽心思,花了4年,“嘀嘀嘀嘀”终于成功注册了!显然想要成功注册声音商标是非常难的!
所以说李佳琦口头禅声音商标被驳回很可能是缺乏显著性!
另外,还有一个关键问题,god本身属于宗教词汇,注册商标使用“可能伤害宗教感情,易产生不良影响”。这条是商标审查中的禁止性原则,一旦被判定,将很难被批准注册!
所以说,如果该声音商标因为缺乏显著性,李家琦方面后续反复申请可能会有被批准的机会,但是如果商标被驳回的原因是宗教性原因的话,可能即便后续反复申请也不一定能够成功被批准。

目前李佳琦还没就该商标被驳回一事进行回应,目前查询得知李佳琦方面已经就第一次申请的声音商标申请复审,后续结果如何,我们拭目以待!不过目前分析看来,该声音商标的注册难度确实不小!