疫情是危机,也是机会,很多企业都在图生存,有的企业已经在图发展了,知识产权行业同样充满机遇!

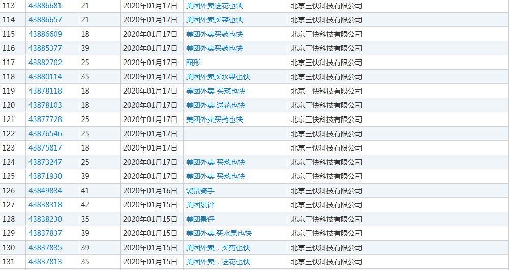
一个月前,美团申请了几枚有关生鲜业务的商标。

美团外卖,买药也快

美团外卖,买菜也快

美团外卖,买水果也快

美团外卖,送花也快

菜有了,水果有了,药也有了。

甚至还考虑到了2月14日情人节,美团外卖甚至申请了“美团外卖 送花也快”商标。

2020春节,因为疫情的关系,不出门就是对社会的最大贡献。

可人,总是要吃的,米、调味品、菜、水果,一样也不能少。

出不了门(隔离或是怕怕),那怎么办呢?

只能是线上买,线下等着送咯。

这个春节,线上零售和生鲜有了爆发式发展。

美团外卖公布的数据显示,1月26日至2月8日期间,在美团外卖平台的连锁超市门店中,生活必需品的订单量涨幅明显。

米面粮油、调味品、生鲜果蔬等品类的商品销售额同比增长了400%以上。

此外,过去一个月以来,不同种类的水果蔬菜的销量突破百万大关。

橘子和鲜果切销量分别突破了200万份和100万份,土豆、葱、香蕉、猪肉、鸡蛋、西红柿、草莓、米面粮油等商品销量也名列前茅。

近期,不管是线下商超还是线上生鲜电商平台,其生鲜果蔬销量都暴涨。

生鲜的增长或许让美团再次看到更多机会,注册生鲜商标,为自己的下一步做好打算,依托自己已有的外卖平台上再拓展生鲜业务。

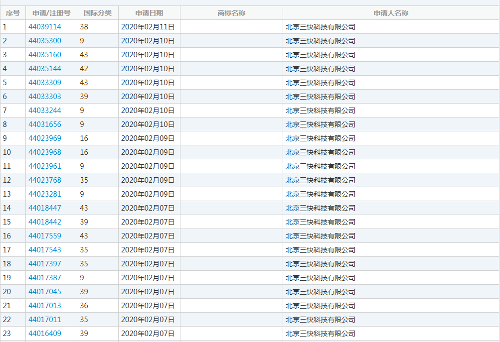
中国商标网显示,美团又提交了百余件商标申请,从美团的走向来看,很有可能是有关于“线上生鲜”的商标。

美团还申请注册了“菜大全”、“美团外卖青山计划”等商标。

商标是企业开展业务的对外宣传的口号,是企业服务或产品的标志。

抢先一步占据商标,可能就占据了市场。