频上热搜的董宇辉事件仍在发酵。

事情的起因在于一场“专场文案出自谁手”的争端,从吉林专场到最出圈的山西专场,东方甄选的小编称小作文多数由文案团队创作,并非全部出自主播董宇辉。

诸多粉丝对此表达不满,将“文案之争”上升到了董宇辉与东方甄选的矛盾,并连日激化。受“骂战”波及,东方甄选、东方甄选小编、董宇辉均被舆论之潮裹挟。

2022年6月,董宇辉靠着“小作文”意外走红,使得东方甄选成为了直播顶流,东方甄选抖音账号一个月内突破了2000万粉丝,并拿下6亿元销售额,登上抖音第一。

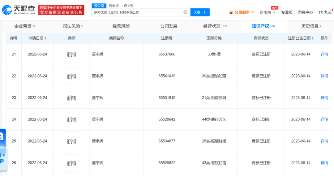
7月6日,根据天眼查APP信息显示,东方优选科技有限公司于2022年6月、7月申请注册多个“董宇辉”文字形象和商标,注册所涉及的分类十分广泛,包括餐饮住宿、医疗园艺、教育娱乐、材料加工、运输贮藏、食品等等。

可见,即便是在当时,刚走红没几天的董宇辉,一旦其背后的商业价值被发现,就难免会遭到有心人的觊觎和抢注。

上述商标,除东方优选公司申请的多个“董宇辉”商标已成功注册,其余商标申请大多已被驳回,处于无效状态。

在短视频和直播时代,知名名人,包括网红、艺人、知名企业的灵魂创始人的个人IP日渐凸显其重要性,其名字更是形成了具有极高商品化权益的品牌。

董宇辉作为东方甄选的头部主播,对其进行商标注册保护的重要性不言而喻。

除了姓名商标,目前,东方甄选关联公司东方优选(北京)科技有限公司已经登记东方小孙、董宇辉、明明等多位主播卡通形象作品著作权,这些作品创作完成于今年5月。

另外,东方甄选已成功注册旗下董宇辉等多位主播姓名及肖像图形商标。

这也提醒我们,企业要时刻保持知识产权保护方面的关注度和敏感度,这也是严谨对待经营的表现!

最后想说, “蹭热点”“傍名人”这种注册商标的方式已经屡见不鲜。事实上,这种行为也可能会“踩中”法律红线。

会上强调,商标恶意注册现象依然屡禁不止,不法行为人通过将抢注为商标,意图利用其所具有的“流量”及附加商业价值,变现为不正当商业利益,不仅严重损害权利人的合法利益,还会扰乱我国商标注册管理秩序和市场竞争秩序,损害社会公共利益。

总之,“董宇辉”商标被抢注,绝对不是最后一个“被抢注”的案例!“网红”经济下,知识产权保护要先行。(来源:来自网络综合整理)