最近,看到莆田市鞋业协会发布的新闻,说成功取得“莆田鞋”集体商标,多家媒体转载发布,引起不小的轰动,可事实真的这样吗,小编动手查了下。

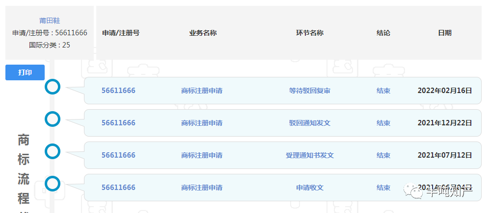
2021年6月份,莆田市鞋业协会一共申请了4件集体商标,包括“莆田鞋”、“PUTIAN SHOES”,以及两件图形商标,截止到目前为止,这4件商标,有且仅有一件图形商标取得核准注册,其他3件均被驳回,也就是说只取得了“pt”图形化的拼音字母商标,并没有取得“莆田鞋”汉字商标。

为什么会出现这样的局面呢,“莆田”属于县级以上行政地名,普通商标一般不会被核准注册,猜想,大概率有近似商标存在,“鞋”在第25类服装鞋帽上属于商品名称,要从“甫田”、“田莆”、“莆甲”、“莆由”……字形相近似的检索,经过一番查找,终于发现在2018年的时候黑龙江陈某在第25类服装鞋帽上申请了“田莆”商标,虽然这是一件普通商标,但同样对莆田市鞋业协会申请的集体商标“莆田鞋”构成注册障碍,导致其无法取得核准注册。

这件商标的存在,将会直接导致,整个莆田市的鞋业公司不能很方便地使用“莆田”这两个字宣传,可以做指示性使用,说自己是莆田市的鞋,但不能在自己鞋以及鞋的包装上打上商标标识,例如下图这样的使用,是不行的,属于侵权。

现在莆田市鞋业协会申请的“莆田鞋”集体商标已经被驳回了,且没有复审流程显示,那接下来,莆田市鞋业协会该怎么办,小编建议,1、找黑龙江陈某购买“田莆”商标;2、通过无效或者撤三等手段打掉近似商标;然后再做申请!