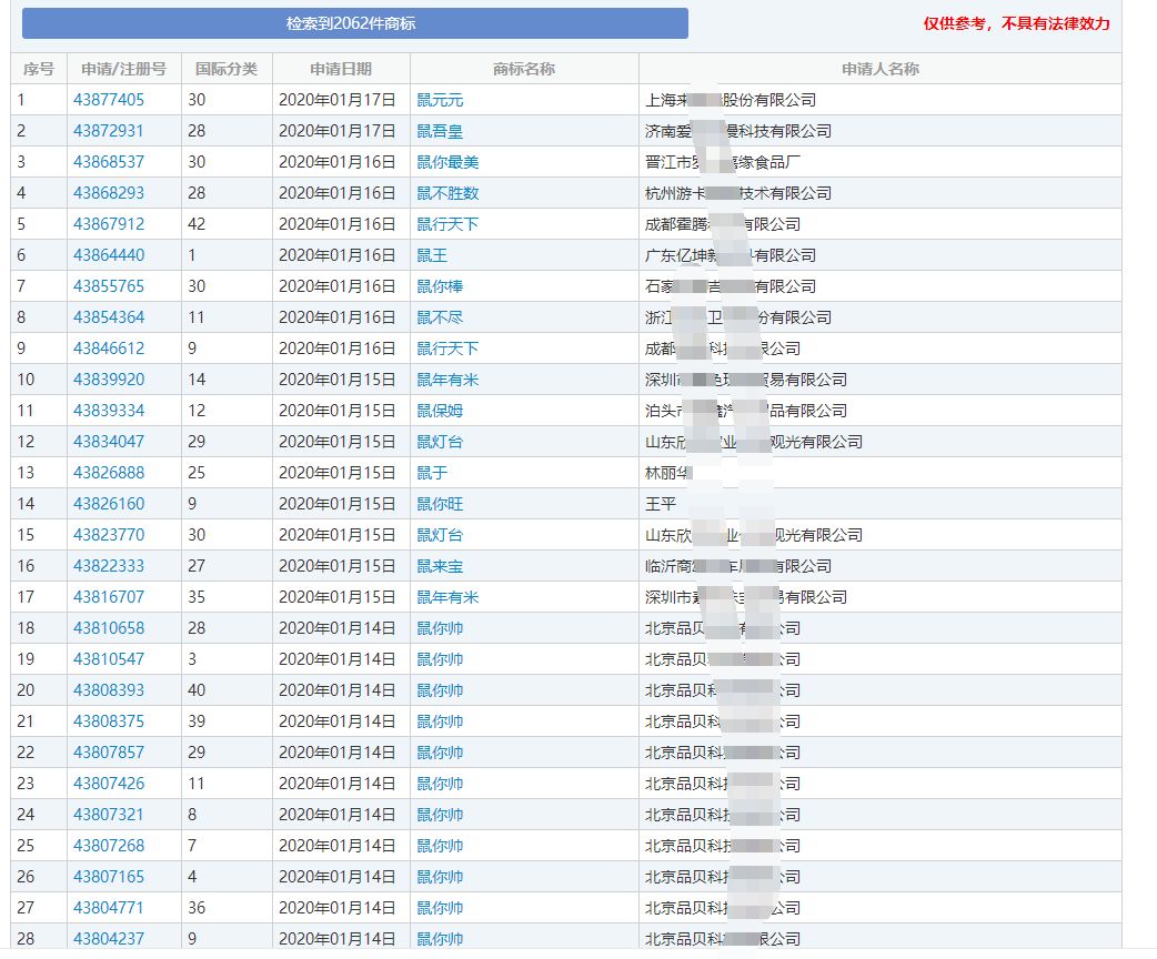
鼠年说鼠,鼠是中国传统十二生肖之首,随着2020年的到来,”鼠“之一字也成为了商标注册里面的一个热词,出于好奇,本人简单搜索了一下:



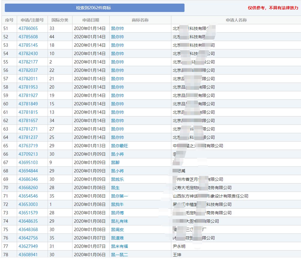
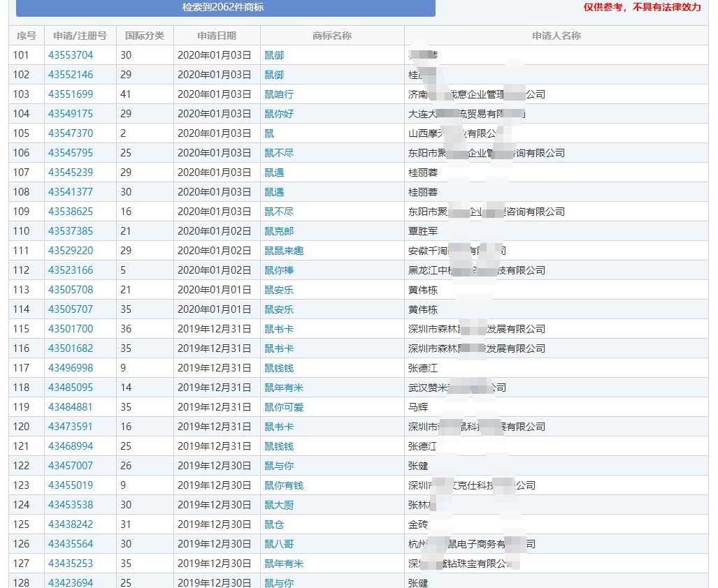
不查不知道,看到搜索结果,真心佩服,单单就元月开始的两周里,申请鼠字开头的商标达百十件之多,下面再给大家分享几个鼠字开头的4字商标:




看到这些申请的商标名字,也不得不佩服,然而从另一个角度也能反映出人们对于商标的重视。

商标作为产品进入市场的敲门砖,它的重要性不言而喻,如果企业产品,连最基本的合法名字都没取得,就谈不上后期的发展了。