近日,刘畊宏夫妇直播燃脂健身操火遍全网,吸引众多“刘畊宏女孩”vivi女孩”跟练。

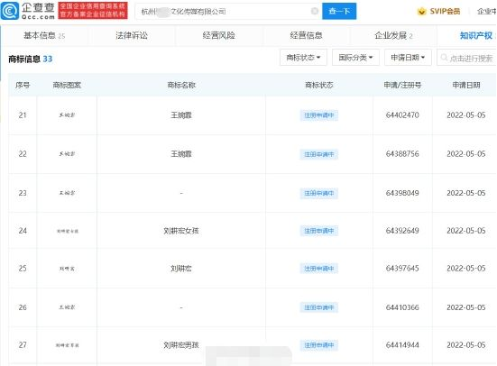
盛名之下,难免会有人搭便车蹭热度。刘畊宏爆火后,不仅“刘畊宏”“刘畊宏女孩”商标被多方抢注,刘畊宏妻子王婉霏的名字也被抢注成商标。据查,杭州某文化传媒公司申请了十多个“王婉霏”商标,申请日期均在今年5月5日,商标状态均为注册申请中。此外,该公司还申请了多个“刘畊宏”商标,商标状态也均为注册申请中。

像这种跟风将公众人物姓名进行抢注,有法律可以约束吗?
根据《民法典》第一千零一十四条的规定,任何组织或者个人不得以干涉、盗用、假冒等方式侵害他人的姓名权或者名称权。我国《商标法》第三十二条明确规定,申请注册商标不得损害他人现有的在先权利,也不得以不正当手段抢先注册他人已经使用并有一定影响的商标。
根据相关法律解释,当事人主张诉争商标损害其姓名权,如果相关公众认为该商标标志指代了该自然人,容易认为标记有该商标的商品系经过该自然人许可或者与该自然人存在特定联系的,人民法院应当认定该商标损害了该自然人的姓名权。
名人有着巨大的影响力,不论是娱乐圈、商界、文体届还是政界的名人,他们的一举一动都能带来相关的品牌效应和经济效益。若公众人物的姓名可被随意注册为商标,容易导致‘搭便车’的行为,扰乱市场的正常秩序。
小编提醒,商标注册不是法外之事,不可为了一时的“蹭热度”而去盲目注册一些商标,申请注册商标的行为应具有合理性或正当性。